Skip to content

Kadee 158-25 - #158-25 HO Gauge Bulk Pack - #158 Scale Whisker® Metal Couplers (without gearboxes) - Medium (9/32") Centerset Shank (50pcs)

by KADEE

Details

Information from Kadee's website:

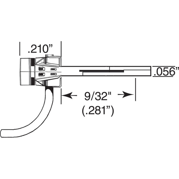
#158 Bulk Pack (25 pair) "Scale" Whisker® Metal Couplers (w/o Gearboxes)- Medium Centerset Shank

The next evolution of model train couplers starts and ends with the Kadee® Whisker® series of couplers. The scale size and detail of the #58 coupler has long been popular with model railroaders, so we knew we had to offer a Whisker® version. Behold the #158 - a scale sized coupler with smaller head and knuckle for a more prototypical look. Often referred to as the "Whisker® version of the #58", the #158 features an even longer-lasting and more reliable design. No more fumbling with centering springs. No more multi-piece assemblies. The #158 Whisker® coupler is a true drop-in coupler. Use Kadee® Whisker® couplers in your next model and enjoy the most reliable and smooth coupling experience you've ever had. Always made right here in the USA with legendary Made In America quality.

The #158 is interchangeable with the No.5®, #28, #58, #118, #119, #148, and most manufacturer's Medium Centerset OEM knuckle couplers. For a #38 equivalent use the #158 in a #252 Gearbox. Supersedes product #150.

Package Includes:

(25) Pair #158 "Scale" Whisker® Metal Couplers - Medium Centerset Shank
(10) Spare #625 Knuckle Springs
**Gearboxes not included**

It is not recommended to use a metal coupler directly on a metal surface or in a metal draft gearbox to avoid possible electrical crossover and shorting that may cause damage. For insulated couplers the #28 coupler.

Magne-MaticDelayed Magnetic Uncoupling

Kadee® Magne-Matic® Couplers and Uncouplers are a complete system for your model railroad layout. We've designed every product to work harmoniously with the Magne-Matic® system so that you can focus on enjoying your hobby instead of troubleshooting issues. Magne-Matic® technology ensures smooth and reliable hands-free coupling and uncoupling anywhere.
Original price $145.00 - Original price $145.00
Original price
$145.00
$145.00 - $145.00
Current price $145.00
Kadee Couplers

Kadee Couplers

This is a premium range of scale knuckle couplers for various model railway gauges. The couplers come in a wide range of specifications, including different mounting connections, length, levels of assembly ect.

Be careful when selecting which coupler is most suitable for your railway vehicles, as there is plenty to choose from! For N Gauge options, see Micro-Trains.